What is invented by Jagadish Chandra Bose?
The pioneering work of Jagadish Chandra Bose spans scientific disciplines in a way few individuals ever achieve, fundamentally altering our understanding of both the physical transmission of invisible waves and the very nature of organic life. His legacy is complex, touching upon the birth of wireless communication and the deeply philosophical question of whether plants possess a form of sentience previously reserved only for the animal kingdom. [3][7] Born in Mymensingh, which is now in Bangladesh, Bose received his education first in Calcutta at St. Xavier's College before traveling to England for further studies at Cambridge. [1] This period abroad, while academically enriching, also exposed him to the racial prejudices prevalent at the time, particularly when he returned to India to teach physics at Presidency College in Calcutta, where he was subjected to unequal treatment and lower pay compared to his European counterparts. [1][2] This early struggle for recognition arguably shaped his later determination to prove the validity of his scientific observations against established European scientific consensus. [2]
# Radio Precursors
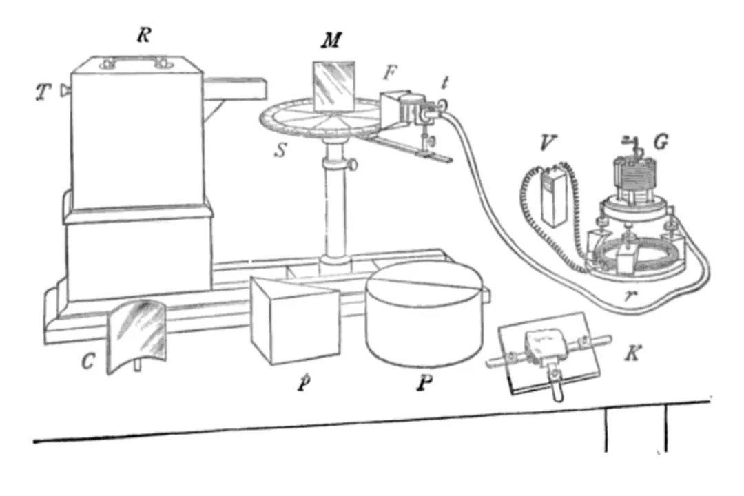
Bose’s initial significant contributions arose from his experimental investigations into electromagnetic waves, or Hertzian waves. [1] He demonstrated remarkable skill in crafting sensitive instruments capable of detecting these invisible forces. Long before commercial wireless systems became widespread, Bose was performing public demonstrations of wireless signaling in Calcutta as early as 1895. [1][8] One particularly illustrative demonstration involved showing an audience that he could wirelessly ring a bell placed at a significant distance away. [8]
His success in this arena often leads to him being cited as the true pioneer of radio technology, sometimes even dubbed the "father of modern Wi-Fi". [5] This claim stems from the fact that his initial experiments with Hertzian waves, and his ability to transmit signals wirelessly, occurred before Guglielmo Marconi achieved his famous transatlantic wireless transmission. [8] Bose developed highly sophisticated electronic components for this research, most notably an improved detector known as a coherer. [5] This device was far more sensitive than the versions utilized by many of his contemporaries. [5][8] He presented these findings while visiting London in 1895, showcasing instruments that could detect minute electrical variations across distances. [8]
The narrative surrounding this period often involves a slight frustration within the scientific community regarding attribution. While Bose achieved the demonstration of wireless telegraphy, Marconi is often credited with the first commercially successful application of that technology. [8] Bose himself was purportedly advised by British scientists to focus on botany rather than physics, perhaps viewing his more abstract, fundamental physics work as less immediately practical or less worthy of the highest accolades in the British scientific establishment of the time. [2]
# Plant Sensation
The second, and perhaps more revolutionary, pillar of Jagadish Chandra Bose's career rests on his meticulous research into plant physiology, where he sought to bridge the perceived gap between the living and the non-living. [3] He spent considerable time developing specialized instruments to observe and record subtle, often imperceptible, responses in plant life. [3] His core argument, which faced considerable skepticism, was that plants exhibit electrical responses to external stimuli that are strikingly analogous to the nerve responses observed in animals. [3][4][7]
To prove this, Bose invented the crescograph, an apparatus designed specifically to measure and magnify the minute growth rates and responses of plants. [3][6] Using this instrument, and various related devices, he could chart how a plant reacted to changes in its environment. [3] He demonstrated that flora reacted not only to light and water but also to mechanical stress, such as cutting, as well as exposure to chemical agents, heat, and cold. [3][6] He documented these findings in influential publications, including Response in the Living and Non-Living in 1902 and The Nervous Mechanism of Plants in 1926. [1]
Bose's assertions went beyond mere electrical measurement; he inferred a type of consciousness or feeling within the plant structure. [7] He postulated that the underlying physical laws governing matter were universal, implying a connection between what was traditionally considered "inanimate" and "animate" existence. [3] For a scientist of his era, especially one working from the periphery of the established Western scientific centers, making such a claim—that plants were, in essence, alive and responsive in a manner comparable to animals—was a profound challenge to established biological dogma. [7]
# Instrument Innovations
The success of Bose’s botany research was entirely dependent upon his ability to measure extremely small phenomena, necessitating the invention of incredibly sensitive recording equipment. [3] His physical insights into electromagnetic waves, which formed the basis of his early radio work, directly informed his later bio-instrumentation. [5][8]
Consider the breadth of instruments developed or significantly improved by Bose. He needed tools that could register minute electrical currents, measure plant growth over time, and record reactions to stimuli that occurred too quickly or too subtly for the naked eye or standard instruments to detect. [3][6] The most famous of these is the crescograph, used for measuring growth, but he also developed devices to record the response curves of plants to various stresses. [3][6]
| Instrument Category | Primary Function | Scientific Domain | Citation Support |
|---|---|---|---|
| Coherer | Detecting faint electromagnetic waves | Physics/Radio | [5][8] |
| Crescograph | Measuring and magnifying plant growth | Botany/Physiology | [3][6] |
| Response Recorder | Charting plant reaction to stimuli (e.g., cuts, chemicals) | Botany/Physiology | [3] |
It is illuminating to consider the context of scientific material acquisition in early 20th-century colonial India. While his contemporary European researchers might have access to standardized, mass-produced measuring devices, Bose often had to invent the method of measurement itself before he could even begin to test his hypothesis on plant life. [2] This necessity forced a remarkable integration of electrical engineering, optics, and biology into a single research program, an interdisciplinary approach that remains highly regarded today. The reliability of his plant response data, captured by instruments he personally designed and calibrated, speaks to his mastery across multiple fields. [3]
# Unifying Scientific Vision
What links the creation of a highly sensitive coherer in the 1890s with the measurement of a plant’s stress response decades later is Bose’s overarching philosophical conviction: the essential unity of nature. [3] He did not view physics and biology as separate realms governed by entirely distinct rules. Instead, he sought the common thread of physical laws that bound everything from inorganic minerals to living tissue. [3]
When Bose demonstrated that a piece of metal could exhibit fatigue and eventually 'die' if stressed repeatedly, just as a living organism does, he was presenting empirical evidence for his theory of underlying continuity. [3] He insisted that the differences observed were merely quantitative—differences in the degree of reaction, not qualitative differences in the existence of reaction. [7] This perspective suggests that his work on wireless signaling was not merely a side project but a necessary step in mastering the detection of subtle energy transmissions, which he then applied to detecting the subtle bio-electrical signals within plants. [1][3]
His contributions were recognized, though perhaps not immediately to the degree he deserved in some circles. He was knighted in 1917, acknowledging his stature in the scientific world. [1] Following this recognition, he successfully founded the Bose Research Institute in Calcutta, an institution intended to continue this integrated study of physical and biological sciences. [1] The institute stands as a testament to his desire to create a space for original, indigenous scientific inquiry, free from the constraints he experienced as a subordinate academic. [2]
# Legacy and Reception
The impact of Jagadish Chandra Bose’s work continues to be evaluated across several fronts. In physics, while Marconi secured the commercial breakthrough, Bose’s prior demonstrations of the fundamental principles of wireless transmission ensure his place as a key precursor. [8] In botany, his work forced a reconsideration of the boundary between sentient and non-sentient life, influencing fields like plant neurobiology, even if his specific claims about full "consciousness" remain subjects of ongoing debate. [7]
One interesting aspect of his dual career is the contrast in reception within the scientific community. His work on radio waves, being mathematically rigorous and easily demonstrated with tangible results (like ringing a bell), was arguably easier for the contemporary physics establishment to process, even if the credit was partially diverted. [8] His assertions about plant feeling, however, demanded a radical shift in worldview—a departure from the strictly mechanistic biology dominant at the time—which naturally met with stronger resistance and required more elaborate, repeated proof, such as the data generated by the crescograph over long observation periods. [3] The difficulty in accepting plant sentience highlights a cultural hurdle as much as a scientific one; it is perhaps easier to accept a new form of signal transmission than to radically redefine life itself. [7]
To place his discoveries into a modern timeline reveals the extent of his foresight.
| Bose's Demonstration Year (Approx.) | Discovery/Technology Focus | Commercial/Mainstream Adoption Year (Approx.) | Gap (Years) |
|---|---|---|---|
| 1895 | Wireless signaling (Radio) | c. 1901 (Marconi's Transatlantic) | ~6 |
| c. 1901–1910 | Plant electrical response detection | Late 20th Century (Modern Bio-sensing/Monitoring) | 70+ |
This comparison shows that while his wireless work was concurrent with early radio development, his botanical insights anticipated instrumentation and scientific paradigms (like advanced bio-monitoring) that would only become commonplace many decades later. [3] Bose was essentially attempting to build the sensors for the Internet of Things (IoT) for flora, long before electronics allowed for miniaturization or easy replication of his delicate equipment. [6] His vision was not just about what plants do, but how to precisely measure it, which is a foundational requirement for any applied science in biology today. [3] His entire scientific career, therefore, was an exercise in advanced measurement technology applied across disparate natural phenomena. [1]
He truly believed that nature communicated through subtle energy exchanges across all material states. [3] This conviction drove him to invent the tools necessary to hear that conversation, whether that conversation was carried via radio waves across a room or via slow cellular changes within a leaf. [8][3] The lasting importance of Jagadish Chandra Bose lies not just in a single invention, but in this relentless pursuit of a unified physics underpinning all of existence, demonstrated through instruments that pushed the boundaries of sensitivity available in his time. [2]
Related Questions
#Citations
Jagadish Chandra Bose
Jagadish Chandra Bose | Inventor, Early Life, Education ...
The Thinking Plant's Man
Jagadish Chandra Bose | Biography & Contributions
Jagadish Chandra Bose: The Man Who Almost Invented ...
Jagadish Chandra Bose
Jagadish Chandra Bose revolutionized science by proving ...
Sir Jagadis Chandra Bose: The man who (almost) ...